JST-135の最近のブログ記事

SDR用IF出力 【JST-135】

  2019年04月15日
SDR用IF出力 【JST-135】 【オプション用コネクタ穴を加工】 BNCコネクタで格好良くなった  TVドングルを内蔵したSDR-HF001でSDR受信をしていますが、JST-135のIF信号を受信することで性能がアップし、送信モニターとしても重宝していました。  しかし、信号を取り出す同軸ケーブルはケースの隙間を通しているだけで、仮設状態のまま早4年が経ちました。  最近昭和の周波数カウンター編でBNCコネクタを...>> 続きを読む
phoneへの回り込み 【JST-135】 ヘッドホンから送信音が聞こえる 【初期からの症状】    送信音がヘッドホンに回り込むという初期症状がありましたが、その当時メーカーも確認しており解決済みとのことでした。  普段のQSOはヘッドホンをほとんど使わないので気にしていなかったのですが、DXの真似事をやるようになってからヘッドホンを使うようになり気になっていました。    最近のRIGのようにきれいなモニター音が聞こえるのならい...>> 続きを読む
電源が入らない 【JST-135】 サーマルスイッチ 【どちらも異常加熱】  虎の子のJST-135の電源が入らなくなりました。  ついに来る時が来たか。(汗!)  そうは言っても新しいリグをゲットする資金もないので、今回もメンテナンスするしかありません。  外付け電源を開けるとコントロール基盤が見えます。  回路図を見るとJST-135の電源スイッチでパワーリレーがONとなり、メーク接点で自己保持するようです。  基盤からリ...>> 続きを読む
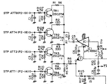
隠しコマンドその2 【粘ってみる】 RF TUNE調整 【ステップアッテネーター再設定】  前記事で、バンド間ゲインの均一化のためにレベル調整した送信RF段の「StepATT」の回路図です。  およそ30年前のリグですが、よく考えてあります。  しかしながら前記事のとおり、18MHz帯は調整範囲外となりました。  スーパーローカルOMから頂いたヒントのように、RF TUNEユニットにあるバリアブル・チューニング回...>> 続きを読む
隠しコマンドその1 【JST-135】 送信ステップアッテネーター 【ユーザー拡張定義】  JST-135の送信時のトータルゲインがバンドごとに異なるため、SSB時の音声レベルをいちいち調整しなければなりません。  普段よく使う7MHzと14MHzでは、7MHzに合わせると14MHzではPower不足、14MHzに合わせると7MHzでオーバードライブとなります。  音声入力レベルの調整は基本的な操作ですが、せっかく前...>> 続きを読む
周波数がずっこけている 【JST-135】 基準発振周波数の調整 【高速リアルタイム スペクトラムアナライザー】  現用のJST−135は20数年前に手に入れたもので、数年前に再QRVした時にもちゃんと動いてくれたので引き続き愛用している。  お空では高性能なリグで各局はFBにオンエアされている。(アマチュア人口が減っているのはBFだが。)  特に周波数安定度は抜群で、HF帯でも1KHzステップでQSOされている。  ところが最近fズレが気...>> 続きを読む